Metallteller des hinteren Federbeins Einbaulage ?
- joggerjuergen
- Benutzer
- Beiträge: 30
- Registriert: Mi 30. Apr 2014, 17:17
Metallteller des hinteren Federbeins Einbaulage ?
Hallo allerseits, bei den hinteren Federbeinen gibt es an der Verschraubung im Kofferraum diesen halb runden Metallteller, nun habe ich öfter gesehen, dass dieser mit der Öffnung nach oben eingebaut ist, was mir persönlich als unlogisch erscheint, da ich der Meinung bin, der Teller müsse nach unten, um den Gummipuffer zu Umschließen und besser anpressen zu können, bitte klärt mich darüber auf.
Danke Vorab
Gruß Jürgen
Danke Vorab
Gruß Jürgen
- Roccily
- Erfahrener Nutzer
- Beiträge: 1097
- Registriert: Do 24. Nov 2005, 10:38
AW: Metallteller des hinteren Federbeins Einbaulage ?
Nach oben ist richtig, kenn ich auch nur so
Gruß
Roccily

Roccily
- DocDulittel
- Erfahrener Nutzer
- Beiträge: 2884
- Registriert: So 18. Jun 2006, 18:16
- Wohnort: Morsum City
AW: Metallteller des hinteren Federbeins Einbaulage ?
Jepp, nach oben offen quasi.
Gruß Michael
Was nützt ein Rennpferd wenn es von einem Esel geritten wird.
Scirocco II GT II, EZ:1990, JH, royalblau metallic,32er Raid, KW Var.2 Gewinde, RH 7,5 x 16, 16V Umbau
Scirocco II GT II, EZ:1992, JH noch absolut original
Golf 1 Cabrio EZ: 1992 2H zum Spaß
Was nützt ein Rennpferd wenn es von einem Esel geritten wird.
Scirocco II GT II, EZ:1990, JH, royalblau metallic,32er Raid, KW Var.2 Gewinde, RH 7,5 x 16, 16V Umbau
Scirocco II GT II, EZ:1992, JH noch absolut original
Golf 1 Cabrio EZ: 1992 2H zum Spaß
-
öltaucher
- Benutzer
- Beiträge: 468
- Registriert: So 6. Jan 2008, 17:23
- Wohnort: Garbsen
AW: Metallteller des hinteren Federbeins Einbaulage ?
Hier auf dem Bild siehst Du es. Das ist noch so original ab Werk. Die weiße Farbe aus der Produktion in Osnabrück ist noch auf dem Gewinde.
Viele Grüße
Christian
Christian
- joggerjuergen
- Benutzer
- Beiträge: 30
- Registriert: Mi 30. Apr 2014, 17:17
AW: Metallteller des hinteren Federbeins Einbaulage ?
Danke Euch, war sehr hilfreich, macht es gut.
Gruß Jürgen
Gruß Jürgen
-
Erik91
- Neuer Benutzer
- Beiträge: 7
- Registriert: Fr 5. Feb 2016, 17:28
AW: Metallteller des hinteren Federbeins Einbaulage ?
Kann vielleicht noch jemand ein Bild vom kompletten Aufbau des Domlagers zeigen. Bei mir ist das auf der Hinterachse irgendwie komisch reingepfuscht worden.
- Bolek
- Benutzer
- Beiträge: 46
- Registriert: Mo 2. Jan 2017, 21:04
- Wohnort: Hildesheim
- Roccily
- Erfahrener Nutzer
- Beiträge: 1097
- Registriert: Do 24. Nov 2005, 10:38
AW: Metallteller des hinteren Federbeins Einbaulage ?
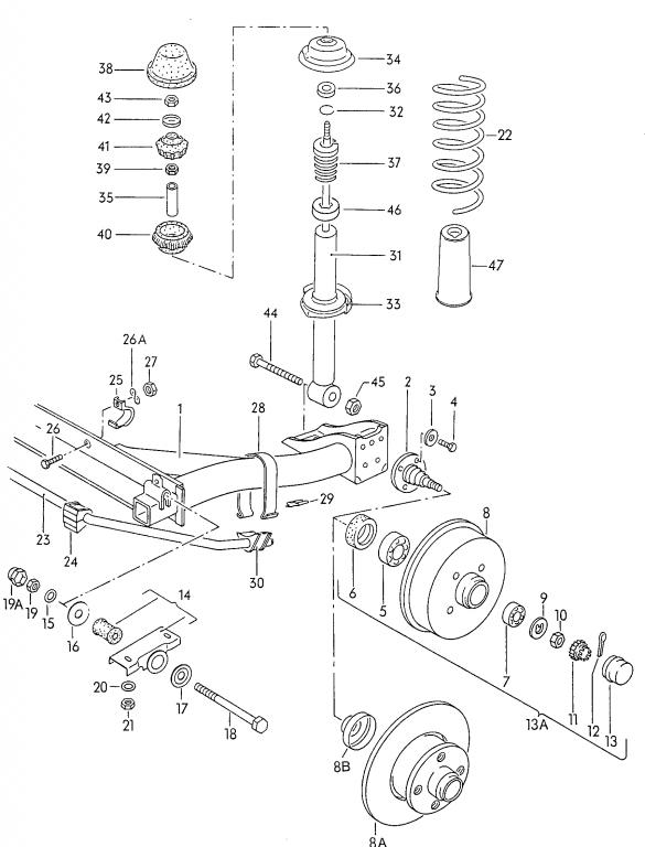
In dem Zusammenhang. Beim Zusammenbau des Federbeins hinten ganz wichtig!! Die Scheibe Pos. 36 im Bild von Bolek hat innen eine Einarbeitung in die der Ring Pos. 32 hinein rutscht. Setzt man die Scheibe falsch rum auf wird der Ring aus der Nut im Federbein gedrückt.
Gruß
Roccily

Roccily
-
Erik91
- Neuer Benutzer
- Beiträge: 7
- Registriert: Fr 5. Feb 2016, 17:28
AW: Metallteller des hinteren Federbeins Einbaulage ?
Ok super danke 
Hab mir ein neues bestellt und da waren noch 2 Scheiben mit Vertiefung dabei. Die werd ich dann wohl nicht brauchen( H&R Gewinde)
Hab mir ein neues bestellt und da waren noch 2 Scheiben mit Vertiefung dabei. Die werd ich dann wohl nicht brauchen( H&R Gewinde)
- christian_scirocco2
- Erfahrener Nutzer
- Beiträge: 6829
- Registriert: So 28. Nov 2004, 13:28
- Wohnort: Münster
AW: Metallteller des hinteren Federbeins Einbaulage ?
Wieso solltest du die Gummipuffer(mit der U Scheibe) oben beim Gewinde Fahrwerk nicht brauchen? Da gehe ich msl stark von aus. 
Scirocco 2 GT2 16V