Kühlerschlauch gesucht!!

Ihr habt ein Problem oder eine technische Frage? Bitte stellt Anleitungen aber in die FAQ!
Antworten
Benutzeravatar
Nastyboy
Benutzer
Beiträge: 685
Registriert: So 16. Nov 2008, 12:35
Wohnort: 53498 Bad Breisig

Kühlerschlauch gesucht!!

Beitrag von Nastyboy »

Moin.

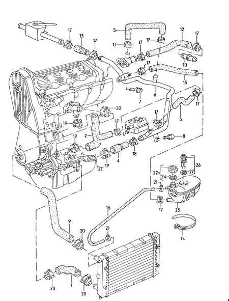
Als ich grade nach einer Sonntagsausflugsfahrt zurück bei uns in die Tiefgarage kam, fiel mir auf, dass ich kühlwasser verliere.... Erstmal möchte ich, an dieser stelle mal erwähnen, wie geil dieses Fahrzeug ist, dass der wasserverlust erst zu hause anfing und nicht mitten in der Stadt. Nach schneller sichtüberprüfung, habe ich den Übeltäter auch schon gefunden. Es ist das kühlwasserschlauchstück, das vom metallrohr an das Heizungsventil geht und an beiden Seiten mit schlauchschellen befestigt ist. Das Ding hat horizontal einen riss und ist hinüber...meine frage nun. Gibt's das Teil noch bei vw oder woanders?
Scirocco 2 GT2 16v-Umbau EZ:91
Erste gemeinsame Saison: 2012 :drive:
Benutzeravatar
Nordrocco
Beiträge: 891
Registriert: Sa 20. Okt 2007, 09:41
Wohnort: Aachen
Kontaktdaten:

AW: Kühlerschlauch gesucht!!

Beitrag von Nordrocco »

Der Dateianhang 064020000.jpg existiert nicht mehr.
Die Nummer 13?? Hat die Teilenummer 533121623

5,69€ bei Classic Parts!
Dateianhänge
064020000.jpg
[SIGPIC][/SIGPIC]
Benutzeravatar
Nastyboy
Benutzer
Beiträge: 685
Registriert: So 16. Nov 2008, 12:35
Wohnort: 53498 Bad Breisig

AW: Kühlerschlauch gesucht!!

Beitrag von Nastyboy »

Ja danke nordi. Das ist er. Gibst du mir noch die teilenummer von den Schellen (17)?
Danke
Scirocco 2 GT2 16v-Umbau EZ:91
Erste gemeinsame Saison: 2012 :drive:
Benutzeravatar
Nordrocco
Beiträge: 891
Registriert: Sa 20. Okt 2007, 09:41
Wohnort: Aachen
Kontaktdaten:

AW: Kühlerschlauch gesucht!!

Beitrag von Nordrocco »

Gibt es nicht mehr :zwinker:

Ersatz: N90686902
[SIGPIC][/SIGPIC]
Benutzeravatar
scidriver
Benutzer
Beiträge: 315
Registriert: Di 7. Jul 2009, 15:18

AW: Kühlerschlauch gesucht!!

Beitrag von scidriver »

.. und nennt sich Federbandschelle für 2,20 euro das stück ;)
Benutzeravatar
Nastyboy
Benutzer
Beiträge: 685
Registriert: So 16. Nov 2008, 12:35
Wohnort: 53498 Bad Breisig

AW: Kühlerschlauch gesucht!!

Beitrag von Nastyboy »

Die Schelle gibts aber scheinbar noch beim Freundlichen oder? bei classic-parts findet er die Schelle nicht.

Jetzt noch eine Frage zum Tausch:
Wenn der Wagen kalt und im Kühlsystem kein Druck ist, kann ich doch dieses Schlauchstück abnehmen ohne das mir gleich unmengen von Kühlwasser entgegen kommen, oder?
Scirocco 2 GT2 16v-Umbau EZ:91
Erste gemeinsame Saison: 2012 :drive:
Benutzeravatar
Ralle
Erfahrener Nutzer
Beiträge: 6150
Registriert: So 14. Mär 2004, 23:29
Wohnort: Kassel

AW: Kühlerschlauch gesucht!!

Beitrag von Ralle »

Mit 1-2 Litern Kühlwasseraustritt kannst Du dabei schon rechnen.

Mal eine Frage am Rande:
Warum sucht man stinknormale Schlauchschellen bei VW oder bei CP, wenn es diese für kleines Geld an fast jeder Strassenecke zu kaufen gibt?
Gruß von Ralf :wink:

Ich bin Schizophren, aber das ist uns egal!

91er GT2, JH, grün-perleffekt
Benutzeravatar
Nordrocco
Beiträge: 891
Registriert: Sa 20. Okt 2007, 09:41
Wohnort: Aachen
Kontaktdaten:

AW: Kühlerschlauch gesucht!!

Beitrag von Nordrocco »

Weil es eben keine normalen Schlauchschellen sind. Mit stino Schlauchschellen schnurt man sich die weichen Kühlschläuche immer so stark ein, bzw. man hat ein schlechtes Feeling beim festziehen. Ich benutze auch gerne diese Schellen von VW.

Aber kann schon sein, dass es die auf dem freien Markt auch zu kaufen gibt, das stimmt schon.
[SIGPIC][/SIGPIC]
Benutzeravatar
Nastyboy
Benutzer
Beiträge: 685
Registriert: So 16. Nov 2008, 12:35
Wohnort: 53498 Bad Breisig

AW: Kühlerschlauch gesucht!!

Beitrag von Nastyboy »

Sehe ich auch so. Gab es damals nicht sogar noch eine extra Zange, um solche Schellen abrutschsicher zu lösen?
Scirocco 2 GT2 16v-Umbau EZ:91
Erste gemeinsame Saison: 2012 :drive:
Antworten